云顶之弈s3(云顶之弈历代一览表)
最新的一图上钻已经为各位老铁安排好了,大家在首页回复1就可以拿到最新的了。
阵容评级,棋子评级,费率调整都做了最新的更新,这个时期只要信息不对等就能快速碾压,这个强度勉强够用了,后续我会根据王者组调整细节,和更新专门套路的解析攻略。
S级套路是前4个,后四个是A级。

在更新小丑的套路之前,确实还是先带大家了解一下新版本的英雄们比较好,不然头像都认不全,技能不知道,这玩起来也属实费劲啊!
我们按照费率和强度,来一点点的解析。

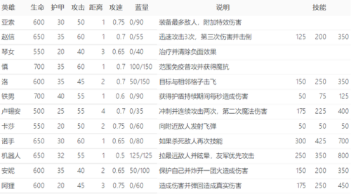
这个是最新的评级图,诺手评级上升,赵信评级下调,艾希评级下调,烬评级下调,船长评级上升,因为狙击系列从S级阵容变成了A级阵容,而枪手成为了最强阵容,刺客系阵容依然强势,小丑仍然是3费最强怪!
一费教学开始,我的教学很快,很简洁, 不注意就结束了哦

来来来,敲黑板
女警、皇子、霞、佐伊、炸弹人、波比、女坦

螳螂、剑姬、男枪、石头、卡牌

看女警伤害就知道,她为什么是1费B级!1级技能伤害这是要逆天!皇子有群体攻速BUFF,霞自我攻速起爆,都是高属性单位。
要注意的控制是生命最高单位的佐伊,炸弹人爆破羁绊眩晕,波比最远单位伤害,男枪攻速最快区域缴械
好,1费教学过,速度进入2费,请问下面都是谁

安妮、卢锡安、卡莎、狐狸、铁男、肾

孤儿、琴女、机器、洛、诺手、赵信

2费主力典型的是卢锡安和安妮,玩过S1的都知道,卢锡安技能伤害高,短平快,吃大天使吃卢登,稳血小天才,而安妮变成了坦克,还能成为大宝剑。
肾和过去一样,琴女也是短平快的技能,阿狸就是以前的斗法,但是双倍法力恢复没了,全靠星守回蓝,孤儿还是那个孤儿,最高装备的判定就恶心,但是现在他更多面对的是大宝剑,蓝又被削了,所有很废物,诺手三星可以连斩,但是很多时候都没卵用,有了机器,也有了更多的老银币了哦。
OK,2费快速过,进入3费

小丑,杰斯,拉克丝、剑圣、辛德拉、蔚

艾希、EZ、扇子妈、兰博、卡萨丁、妮蔻

最强小丑,就是过去的飞天螳螂,1Q一人头,千里不流行,杰斯就是S1S2的剑魔,the shy的感觉,这一劈谁顶得住,妮蔻团控,卡萨丁群体解除装备,蔚过程伤害削弱,没有一拳超人了。
好,准备要4费主核了

猴子、大虫子、刀妹、金克斯、奶妈

烬、小鱼人、天使、大眼

最强团控猴子和大虫子,基本上就是石头、猪妹、木木的地位,近战最强C位是刀妹,连续收割破法,远程是金克斯,还是过去S1超级收割那个味,烬虽然4枪一个小盆友,启动太慢,女武神同理,大眼常年假赛小王子,小鱼的团控,变身就没了。
5费BOSS们就要来了,准备好了吗?

龙王、艾克、露露、锤石、女枪、船长
龙王是大BOSS,一个石像鬼无敌的存在,但是节奏太慢了,艾克是刺客体系的主核,群伤,特效爆炸,露露是后期超级团控,群体变羊,大多数阵容都能上,锤石是典型的人口流核心,18个打9个你怕不怕,主场全有羁绊哦,女枪真正一个大清屏,AOE爆炸,船长就是个羁绊挂件。
